Camera nhiệt AXIS Q8642-E PT là giải pháp giám sát ngoài trời mạnh mẽ, được thiết kế để đáp ứng nhu cầu an ninh trong bối cảnh ngày càng phức tạp. Các tổ chức, doanh nghiệp và cơ quan quản lý đều phải đối mặt với nhiều thách thức khi giám sát trong điều kiện thiếu sáng, sương mù, bụi mịn hoặc khoảng cách quan sát xa, những yếu tố mà camera thông thường khó đáp ứng.
Với khả năng xoay nghiêng mượt mà, cảm biến nhiệt độ phân giải cao và thiết kế bền bỉ, AXIS Q8642-E PT mang lại sự an tâm tuyệt đối cho mọi dự án giám sát chuyên nghiệp, từ khu công nghiệp, cảng biển cho đến khu vực biên giới.
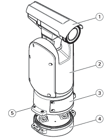
Các thành phần phần cứng

- Tấm chắn nắng
- Camera định vị
- Nắp
- Đơn vị cơ sở
- Vít đơn vị cơ sở

- Nắp sau
- Nắp thẻ SD
- Khe cắm thẻ SD
- Nút điều khiển
- Đầu nối nguồn đầu vào
- Đầu nối I/O
- Đầu nối RJ45
- Khe cắm SFP cho mô-đun SFP (không bao gồm mô-đun SFP)
Tính năng nổi bật của camera AXIS Q8642-E PT
Khả năng quay & nghiêng linh hoạt
Camera AXIS Q8642-E PT cho phép điều chỉnh tốc độ quay từ 0.05°–120°/giây và tốc độ nghiêng 0.05°–65°/giây. Nhờ vậy, camera có thể vừa xoay chậm để quan sát chi tiết, vừa xoay nhanh để theo dõi mục tiêu di chuyển.
Hệ thống điều khiển với sai số chỉ 0.05° giúp vận hành mượt mà, không rung lắc ngay cả ở tốc độ thấp. Kết hợp 256 vị trí cài đặt trước và khả năng điều khiển hướng linh hoạt, thiết bị đảm bảo bao quát toàn cảnh mà không bỏ sót điểm mù.
Chất lượng hình ảnh nhiệt vượt trội
Trang bị cảm biến nhiệt VGA 640×480 pixel cùng công nghệ NETD < 50 mK, camera phát hiện được chênh lệch nhiệt độ rất nhỏ, cho hình ảnh rõ nét ngay cả trong bóng tối hoàn toàn.
Ngoài ra, AXIS Q8642-E PT hỗ trợ nâng lên 800×600 (SVGA), phù hợp khi cần phân tích chi tiết. Khả năng quan sát nhiệt giúp camera không bị ảnh hưởng bởi ánh sáng chói, sương mù hay khói bụi – lý tưởng cho giám sát 24/7 ngoài trời.
Lắp đặt và kết nối dễ dàng
Thiết bị hỗ trợ khe cắm SFP cho kết nối cáp quang đường dài và đi kèm cáp phụ kiện 22 m giúp triển khai ở vị trí xa hoặc khó tiếp cận. Camera còn có tính năng tự động phục hồi sau khi mất nguồn và chịu được gió mạnh tới 47 m/s, thích hợp cho môi trường ven biển hay khu vực khắc nghiệt.
Độ bền vượt trội ngoài trời
Với dải nhiệt hoạt động -40°C đến 60°C và chuẩn bảo vệ IP66, AXIS Q8642-E PT chống nước, bụi và mưa gió lớn. Thiết kế bền bỉ giúp giảm thiểu chi phí bảo trì, đảm bảo vận hành ổn định lâu dài tại các khu công nghiệp, sân bay, kho nhiên liệu hoặc biên giới.
Bảo mật và quản lý thông minh
Camera tích hợp mã hóa HTTPS, quản lý chứng chỉ tập trung và chống tấn công brute force, bảo vệ dữ liệu video khỏi nguy cơ xâm nhập. Đồng thời, khả năng tương thích ONVIF giúp thiết bị dễ dàng tích hợp với nhiều hệ thống quản lý video (VMS), mang lại sự linh hoạt cho doanh nghiệp.

Thông số kỹ thuật nổi bật
- Độ phân giải nhiệt: 640×480 pixel (nâng cấp 800×600 SVGA)
- Công nghệ hình ảnh: NETD < 50 mK
- Tốc độ quay: 0.05° – 120°/s
- Tốc độ nghiêng: 0.05° – 65°/s
- Sai số điều khiển: 0.05°
- Vị trí cài đặt trước: 256 preset
- Chuẩn bảo vệ: IP66, chịu gió 47 m/s
- Nhiệt độ hoạt động: -40°C đến 60°C
- Kết nối: SFP cho cáp quang, PoE hỗ trợ
- Tính năng bảo mật: HTTPS, quản lý chứng chỉ, chống brute force
Xem chi tiết: Datasheet-Axis-Q8642–E-PT-Thermal-Network-Camera
Thông tin liên hệ
Camera nhiệt AXIS Q8642-E PT không chỉ là một thiết bị giám sát an ninh mà còn là một giải pháp toàn diện, kết hợp giữa tính linh hoạt độ bền và công nghệ tiên tiến. Với khả năng hoạt động ổn định trong mọi điều kiện thời tiết, chất lượng hình ảnh nhiệt vượt trội và hệ thống bảo mật mạnh mẽ, đây là lựa chọn lý tưởng cho các dự án an ninh quy mô lớn, đòi hỏi sự chính xác và liên tục.
Nếu bạn đang tìm kiếm một giải pháp giám sát ngoài trời đáng tin cậy, hãy để Nam Long Telecom – đối tác chiến lược của Axis tại Việt Nam đồng hành cùng bạn.
- Website: www.namlongtelecom.vn
- Hotline: 0903 05 88 77 – Mr. Cường
- Email: cuong.truong@namlongtelecom.vn
My –
Với tầm giá này, Q8642-E có chất lượng thực sự tốt.
Phúc –
Đội kỹ thuật nam long làm việc cẩn thận, tôi không phải can thiệp nhiều
long huynh –
Camera chạy liên tục gần 1 tháng không gặp bất kỳ hư hỏng điểm ảnh hay lỗi phần cứng nào. Điểm trừ duy nhất là đèn trạng thái hơi sáng
bobo –
Đôi khi có sương đêm thì kính trước bị hơi mờ nhẹ, ảnh mất nét tạm thời, lau kính thì lại rõ.
Duyên –
Hợp với nhu cầu của mình, giá hơi đắt nhưng vẫn chấp nhận được
Biên –
Nam Long hỗ trợ nhiệt tình, chất lượng cam tốt
Bảo Phạm –
camera này hỗ trợ mình rất tiện khi cần quan sát nhiều góc
Bảo Như –
Đặt camera nhiều ngày hoạt động ổn định, không gặp lỗi tắt đột ngột. Cảm giác build hợp với môi trường khắc nghiệt như kho lạnh của mình
huệ –
Khi zoom cao thì chi tiết hơi mềm không thể so với camera quang học
Khanh –
tôi thử phát hiện người và xe từ xa cỡ 200-300 m đều rõ
Đình Luân –
Khi trời mưa to hoặc gió mạnh cam vẫn đứng vững, ảnh không bị nhòe quá mức, mình cảm giác chất lượng vỏ tốt. Nhưng lớp kính trước hơi bám giọt nước nên cần lau thường xuyên á
Bá khôi –
Ban đêm nhìn rõ người đi lại nhờ cảm biến nhiệt rất ưng